新三水网站-新三水淼才网-佛山相亲派

查看: 28212|回复: 67

也讨论一下三水地王,说要烂尾的怕要失望

[复制链接]

66

鲜花

1314

帖子

3737

积分

银鱼

Rank: 6Rank: 6

三水荣誉市民原创写手

发表于 2017-2-24 09:14 | 显示全部楼层 |阅读模式 | 来自广东
本帖最后由 leo.loo 于 2017-2-24 09:16 编辑

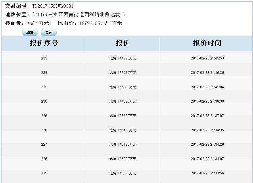
昨晚至今日,讨论得最多的就是三水新地王,位于西河路北侧地块二,净用地面积89927.33平方米,容积率3.0,成交总价177990万元,地面价19792.65元/平方米,折算楼面地价6597.55元/平方米。对于这一天价,很多网友都说这价格太贵,土地成本太高,房价自然也高,没人卖,就等着烂尾吧。相信除一部分人属于调侃性质外,很多人还真的会这样想。个人愚见,有这种想法的人,怕要失望了。原因主要是:

1、首先是近来广州土豪购房客已经把三水的楼价拉高了,三水的地价早已不是之前的1500左右的成本水平了,按照现时的楼价,正常的土地成本换算楼计算2500-3000左右是正常的。所以,这块地的溢价并没有原来设想的高太多。

2、地王一出,各盘升的升,封盘的封盘,楼价再次上扬是必然了。在房产市场,一个很明显的现象是追涨不追跌,价格持续在涨,根本不用担心没人买,只会有更多广、深投资客来买。

3、第三个主要是从开发商方面考虑的,该地块是时代地产竞得,而该地王的东侧就是时代6期,楼价一升,无缝可以让时代6期将来的利润有所增长,保守估计利润增多1-2K是正常的,从片区来看,时代之前的几期也会从该地块的成交而获利,无形中,该地块的土地成本被时代之前的几个楼盘新增加的利润分担了一部分。
      另外就是时代已经发展到6期,之前的6期土地成本都不高,但楼价卖得却不低,其利润是可想而知的。企业利润是要交税的,而且税率不是一般的低,如果时代要把这部分利润投资到其他城市,那么他的税费真的要交很多。但是如果把这部分利润投入当地(即三水本地),那么就可以不用交这部分税,相当于抵税了。对于时代地产来说,相当于又转嫁了一部分利润。
       加上本来旁边就是时代自己的地,两地块相邻,又是同一个开发商,在开发上会更便利,相当于土地的合并交易,本来就会对地价拉升。

综上所述,该地块在外界看来是6597元/平方米的天价楼面成本。但在时代看来,其实该地块的成本可能就2500-3000的水平,而这个地价水平,本来就是现在三水中心城区住宅用地的正常地价。所以,时代才会这样志在必得,不惜代价。至于和他PK的企业,估计是有心和时代作对;P

       以上纯粹为个人愚见。而且也不专业,欢迎有更专业的人士批评指正。
一人一骑
回复

使用道具 举报

1

鲜花

493

帖子

2460

积分

铜鱼

Rank: 4

发表于 2017-2-24 14:36 手机网页版 | 显示全部楼层 | 来自广东
上次小便(编)你骗我去迪拜当乞丐,第二次骗我到乌克兰取媳妇,第三次骗我去澳洲砌墙,第四次骗我去海边捡鲸鱼屎,前段时间又骗老子养竹鼠,还说400块一斤, 后来还骗老子去河里面找乌木,再后来又想骗老子挖竹笋,之后叫老子去山上捡石头,大大前天晚上又叫老子去挖白芨,大前天又告诉我在监狱里玩扑克可以赢钱,前天天不亮又骗我挖草卖,昨天上午你又骗我去养鸡,还说一只鸡可以换一部车,还骗我去水沟捞鱼,结果搞得一身黑臭黑篱笆,昨天下午骗我去悬崖上采灵芝,今天小便(编)你又想骗我入楼市做接盘侠。
回复 支持 2 反对 0

使用道具 举报

3

鲜花

1374

帖子

4461

积分

银鱼

Rank: 6Rank: 6

发表于 2017-2-24 11:29 | 显示全部楼层 | 来自广东
中介又在散播言论了,不然平民哪有时间写这么长的软文
回复 支持 2 反对 0

使用道具 举报

发表于 2017-2-24 11:19 | 显示全部楼层 | 来自广东
提示: 作者被禁止或删除 内容自动屏蔽
回复 支持 2 反对 0

使用道具 举报

3

鲜花

1533

帖子

4559

积分

银鱼

Rank: 6Rank: 6

发表于 2017-2-24 09:38 | 显示全部楼层 | 来自广东
我关心广深投资客来投资的话,最后谁给他们接盘?本地人?米傻啦,百几二百万买层楼不如翻村起别墅,仲有台车的钱多,车位都省了,宜家好多镇出西南有几远jie,开台车20几分钟就到了。如果话下面镇的教育无西南甘好,用这个买楼的钱都仲可以送子女去南海的私立名校,使鬼留系三水读么?想外来工接盘?米傻啦,三水宜家的工资收入够吸引他们来三水定居挨高房价么?唔逼走人都偷笑啦!真系将自己当广州西了,以为有个地铁站就了不起,三水有几多人系佛山广州做野却日日跑翻三水住的?三水人民坐上地铁的唯一出路就只有去佛山广州,无得系区内周围去,有意思么?
回复 支持 1 反对 0

使用道具 举报

66

鲜花

1314

帖子

3737

积分

银鱼

Rank: 6Rank: 6

三水荣誉市民原创写手

 楼主| 发表于 2017-2-24 09:15 | 显示全部楼层 | 来自广东
佛山市三水区西南街道西河路北侧地块二
地王.jpg
地王2.jpg
一人一骑
回复 支持 反对

使用道具 举报

0

鲜花

25

帖子

735

积分

大鱼

Rank: 3Rank: 3

发表于 2017-2-24 09:20 | 显示全部楼层 | 来自广东
请看准方位,再去了解哈时代地产在三水开发的情况
Keep moving!
回复 支持 反对

使用道具 举报

17

鲜花

796

帖子

1754

积分

铜鱼

Rank: 4

发表于 2017-2-24 09:25 | 显示全部楼层 | 来自广东
党报:房地产市场容不下害群之马

住建部称房地产税正在推进 党报:容不下害群之马
回复 支持 反对

使用道具 举报

17

鲜花

796

帖子

1754

积分

铜鱼

Rank: 4

发表于 2017-2-24 09:27 | 显示全部楼层 | 来自广东
两类行为屡禁不止
近年来,房地产开发企业、房地产中介机构各类违法违规的行为屡禁不止。据住建部介绍,这些违法违规行为大致归纳为两类:一类是误导、欺诈、炒作行为,包括发布虚假信息和广告,捏造或者散布谣言等。第二类是违法违规的销售行为,包括无证销售、违规代理,变相收取定金预定款,捂盘惜售,暗中加价收费,不明码标价,“一房多卖”等。

  陆克华表示,上述第一类行为人为制造紧张气氛,煽动恐慌性购房,哄抬房价,误导市场预期,引起市场波动,社会影响十分恶劣。第二类行为则坑害了消费者,引发了大量纠纷。

  “这些危害巨大的违法违规行为为何会屡禁不止?究其原因,一方面是利益作祟,不少企业、中介为了从房地产市场牟取暴利而失去原则、‘顶风作案’;另一方面,当前房地产市场投机现象比较严重,一些企业、中介跟风炒作,同时我们的监管虽在加强,但仍有所不足。对此,我们必须加强整治。”北京科技大学管理学院经济贸易系主任何维达在接受本报记者采访时说
市场整治将有大招

  针对各类违法违规行为,2017年,一系列整治大招将会放出。陆克华指出,今年继续加大整治力度。始终保持高压严查态势,对开发企业和中介机构的各种违法违规行为坚决予以严厉打击,发现一起,查处一起、通报一起,决不姑息、决不手软,坚决依法将“害群之马”清出市场。

  具体来看,规范住房租赁市场秩序将是今年重点。据统计,目前中国大概有1.6亿人在城镇租房居住,占城镇常住人口的21%,规范住房租赁市场秩序十分重要。住建部表示,今年将严厉打击住房租赁市场上的违法违规行为,大力整治“黑中介”“黑二房东”,切实保护租房群众的合法权益。

  如何有效规范房地产市场秩序?加大处罚力度、加强信用体系建设、加快立法等3项措施在今年将值得关注。“对违法违规的企业,依法采取停止预售、取消网签资格、处以罚款等措施;对涉嫌违反价格、金融、工商等相关法律法规的,及时移交有关部门处理;构成犯罪的,移交司法机关,依法追究刑事责任。将开发企业和中介机构的违法行为记入信用档案,建立失信联合惩戒制度。加快立法,规范房地产开发、销售、租赁和中介行为,明确对违法违规行为的认定,提高处罚标准。”陆克华
回复 支持 反对

使用道具 举报

66

鲜花

1314

帖子

3737

积分

银鱼

Rank: 6Rank: 6

三水荣誉市民原创写手

 楼主| 发表于 2017-2-24 09:27 | 显示全部楼层 | 来自广东
燕子南飞 发表于 2017-2-24 09:20
请看准方位,再去了解哈时代地产在三水开发的情况

还请指点一二
一人一骑
回复 支持 反对

使用道具 举报

3

鲜花

768

帖子

3107

积分

银鱼

Rank: 6Rank: 6

三水荣誉市民

发表于 2017-2-24 09:28 | 显示全部楼层 | 来自广东
时代地产上市大公司、有实力的、北江新区价值突显
回复 支持 反对

使用道具 举报

4

鲜花

764

帖子

2173

积分

铜鱼

Rank: 4

QQ
发表于 2017-2-24 09:30 手机网页版 | 显示全部楼层 | 来自广东
楼市不会跌,庄家的经济离不开它,一手出政策调控一手暗地里拉升。现在做房地产利益不高,还很可能资金断,庄家为了自己整体利益只会拉升,反正后果非常严重。除非以后出了房产税来填补庄家更多财政收入,楼市才会稍微下降,不过未来军事发展,海外发展,公务员加福利和工资,更需要靠拉高房产里更多的钱去填补它。不过我已买百几方的房子,升跌关系与我不大!
回复 支持 反对

使用道具 举报

66

鲜花

1314

帖子

3737

积分

银鱼

Rank: 6Rank: 6

三水荣誉市民原创写手

 楼主| 发表于 2017-2-24 09:33 | 显示全部楼层 | 来自广东
城南秋色 发表于 2017-2-24 09:27
两类行为屡禁不止
近年来,房地产开发企业、房地产中介机构各类违法违规的行为屡禁不止。据住建部介绍,这 ...

你转发的这些,和这地王有何关系?还请指教
一人一骑
回复 支持 反对

使用道具 举报

2

鲜花

314

帖子

1098

积分

铜鱼

Rank: 4

发表于 2017-2-24 09:36 手机网页版 | 显示全部楼层 | 来自广东
关键可以同南湾连片开发,楼面价被南湾拉低,而楼价被地王推高。阿府真系阴湿,先卖两边比恒大和时代,等两大巨头争出新地王。
回复 支持 反对

使用道具 举报

您需要登录后才可以回帖 登录 | 注册账号

本版积分规则