新三水网站-新三水淼才网-佛山相亲派

查看: 2126|回复: 4

21次出价!约772万成交!原火爆三水的楼盘“营销中心”被成功接盘!还有部分底商……

[复制链接]
发表于 2025-10-29 08:41 | 显示全部楼层 |阅读模式 | 来自广东
约772万!原三水恒福新里程营销中心在第4次成功卖出!
日前,在京东资产交易平台显示,位于三水区云东海街道德兴北路1号恒福新里程花园二区1座107-113的标的物成功拍卖,约772万成交。

3a350bda68b34d0114785446d829c1dd.png
|来源京东资产交易平台

79b60c8119bbc2b6b75581d608d584a4.png
历经21次竞拍 个人以约772万拍下
根据拍卖公告,本次标的主要由7间商铺打通而成,均有抵押和查封,总建筑面积1243.28㎡,评估价1848.2万。

5f82a1daa1a7914f0f3fe1c79322de6c.png
|来源京东资产交易平台

就在今年7月20日,该标的首次上架法拍平台,彼时起拍价为1293.74万元,对比本次成交价,降幅约521万。

0189eef75f85da258516bfbdf31f2c76.png
|来源阿里拍卖平台

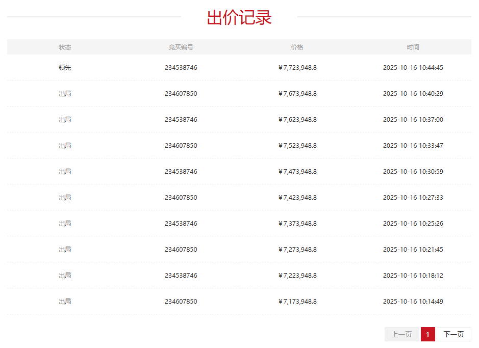
根据出价记录,本次标的有两人出价,经历了21次竞价,最终由个人以7723948.8元拍下。

088c9617cc98f0c95a1e368550fb5b12.png

9d47f0aa178bb6091fce0a7c7992fefb.png
|来源阿里拍卖平台

从标的实拍图来看,恒福新里程营销中心大门现已紧闭,不过,还能清晰的看见售楼部的出口,以及恒福兴达三水项目部字样。

c72bb8086ef35e2201083f48b583725e.jpg

3bc24eb9e0f2cab4471cba8a2b97ae68.jpg

fc6173d77407161fea172041db7f4305.jpg
|来源阿里拍卖平台

而值得一提的是,与恒福新里程营销中心同时拍出的,还有其他底商产品。

2a562b8bf3e0c979779462ca3894ab51.png

df2af21ef608fa6d07f9e458f983d4c9.png
|来源阿里拍卖平台

ef5f964f2678422df538ded1039c153e.png
三水本土“地头蛇” 资不抵债走向破产之路

恒福新里程花园是由三水恒福兴达房地产开发有限公司(下称恒福兴达房地产),于2014年在三水新城开发的住宅项目。

e3605c4e8e76e77e71b0506da4a2c4bf.png

而说到恒福兴达房地产,可以称得上是三水本土的“地头蛇”,旗下有恒福广场、西南酒店、恒福星际酒店等,还开发了恒福新里程、恒福水岸、恒福丽铂公馆等住宅项目,版图很大。
但从2019年起,该房企老板遭逢巨变,债务危机随之出现。

根据公示的民事裁定书,恒福兴达房地产已资不抵债,并明显丧失清偿能力,已申请破产清算。

3ca2f2877769facfa6ef47d505fe7442.png
|来源京东资产交易平台

而资不抵债的情况引发连锁反应,不少资产开始被抵押、查封、拍卖。

去年11月28日,三水的时代记忆——恒福星际酒店破产清算,于今年2月28日正式停业,并登上了法拍平台。

起拍价一度由约1.23亿降价至约7846万,但最终均以无人出价而流拍。

89a73dd1f41c1714f5f0b9b2140db8ec.png
|来源京东资产交易平台

不过,值得恭喜的是,项目的营销中心和部分商铺现已顺利卖出,若后续运营得当,盘活商业,将为业主及周边居民带来切实利好。

对此,你有什么看法呢?来评论区聊聊~

本文信息仅供参考,具体以实际为准。

— END —

加入三水楼市购房补贴群,购房领最高3万补贴

5a00baf39e26d75601fe624f941b02d1.png




a12c748ae96b1dc827b48a0f31bcf388.png

507aa48b4b0f0082fd36e24943c8fc93.jpg

回复

使用道具 举报

4

鲜花

1236

帖子

2284

积分

铜鱼

Rank: 4

发表于 2025-10-29 09:58 | 显示全部楼层 | 来自广东
本地接盘侠,外地不太可能!
回复 支持 1 反对 0

使用道具 举报

发表于 2025-10-30 05:01 手机网页版 | 显示全部楼层 | 来自广东
回复

使用道具 举报

0

鲜花

1万

帖子

7668

积分

金鱼

Rank: 8Rank: 8

发表于 2025-10-31 00:36 手机网页版 | 显示全部楼层 | IP未知
6000一平不贵!可能好过双子星!
回复 支持 反对

使用道具 举报

2

鲜花

828

帖子

5482

积分

金鱼

Rank: 8Rank: 8

发表于 2025-10-31 19:23 手机网页版 | 显示全部楼层 | 来自广东
tmj999 发表于 2025-10-31 00:36
6000一平不贵!可能好过双子星!

税费很贵,听说约20%。物业费也是大坑,3.5元/平方
回复 支持 反对

使用道具 举报

您需要登录后才可以回帖 登录 | 注册账号

本版积分规则